Are you a military commander frustrated by the fact that your tanks are too slow? Fear not as we have the Howie motor gun carriage
The howie motor gun carriage was a 1937 US Army scout and machine gun prototype that was designed to prepare the US for WW2
The vehicle had 2 crews, 1 gunner and 1 driver; both the gunner and driver had to operate this vehicle whilst lying prone, hence the nickname “belly-flopper”.
It is also important to note that instead of a traditional steering wheel, the driver would be using a boat-style tiller with their left and a gearshift lever on their right. The pedals were placed at the rear of this vehicle, under the driver’s feet.
The gunner would also be equipped with a water-cooled M1917 that could only be fired in a limited horizontal and vetical sector.
Even though this vehicle could be useful for reconnaissance, it ultimately did not receive a favourable reception from automobile manufacturers. Firstly, the most obvious issue was that the crews were basically exposed and barely had any protection. The Howie also lacked soft suspension and the low ground clearance made it awful on rough terrain; it is also pretty obvious that the controls aren’t comfortable at all.
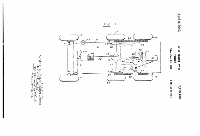
Patent-
There’s also video footage showing the entire contraption.



